Гидроизоляция и мягкая кровля в Бишкеке ОсОО "BRR СТРОЙ"
Полимерно-Кровельно-гидроизоляционные материалы в Бишкеке
Гидроизоляция кровли полимерными материалами с гарантией 25-40 лет
Конструктивные решения по кровлям полимерами при новом строительстве и ремонте
Эксплуатируемая кровля Инверсионная кровля Ремонт кровли из металла
Компания предлагает для кровли долговечные полимерные материалы с заданными свойствами 3-4 поколений. Ниже показаны технологии применения полимеров при устройстве кровель разных типов.
Кровли приклеиваемые

На рисунке 1 показаны три варианта кровель, используемых в новом строительстве – а, б, в
Вариант А. Сборная стяжка 22 выполнена из цементно-стружечных плит (ЦСП). Стяжка 22, утеплитель 17 (по расчету), пароизоляция 16 (по расчету) прикреплены к профлисту 23 механически, с помощью крепежных элементов 20. Во избежание увлажнения дождем плиты ЦСП предварительно покрыты со всех сторон двумя слоями мастики «Унимаст У» или тремя слоями мастики «Унимаст П». Плиты утеплителя разнесены, с учетом ширины вентилируемых наружным воздухом каналов 18. Протяженность и сечение вентилируемых каналов рассчитаны по методике, приведенной в приложении 11.4. МДС 12-54.2010. ЭПДМ-мембрана 1 из «Элон-Супер», "Элон-Супер-Л" приклеена к сухому ровному сборному основанию мастикой «Унимаст У». Полотнища в нахлестках склеены между собой мастикой «Унимаст У» и/или двусторонней липкой лентой ДЛЛ-Элон» 10.
Вариант Б. На железобетонную плиту 24, положена пароизоляция 16, например, из полиэтиленовой пленки. Выше – слой утеплителя 17, например, из минераловатных плит, пеностекла и пр. с разнесением плит на ширину вентилируемых каналов 18. Вентилируемые каналы закрыты полосами 22, выпиленными из плит ЦСП, покрытыми со всех сторон двумя слоями мастики «Унимаст У» или тремя слоями мастики «Унимаст П». Над утеплителем выполнена цементно-песчаная или сборная из листов ЦСП стяжка 21 праймированная битумной мастикой. Над вентилируемыми каналами 18 установлены аэраторы 19. Количество аэраторов рассчитано по методике, приведенной в приложении 5. Мембрана 3 из «Элона-Супер Н» приклеена к основанию огневым наплавлением. Развернутые из рулонов полотнища соединены друг с другом с помощью лент 31, вырезанных из «Техноэласта» или «Элабита», положенных на основание наплавляемой стороной вверх.
Вариант В. В отличие от варианта б, мембрана 4 выполнена из «Кровлелона», приправленного на слой адгезива, в качестве которого взяты «Техноэласт» 35 или «Элабит» 36, ранее наплавленный на предварительно покрытую слоем битумного праймера цементно-песчаную стяжку или сборную стяжку из листов ЦСП 21. Оставленные свободными нахлестки полотнищ 13 соединены друг с другим автоматической тепловоздушной сваркой.
«Кровлелон» может быть приклеен к основанию мастикой «Унимаст У» с оставлением нахлесток свободными и с последующей их тепловоздушной сваркой.
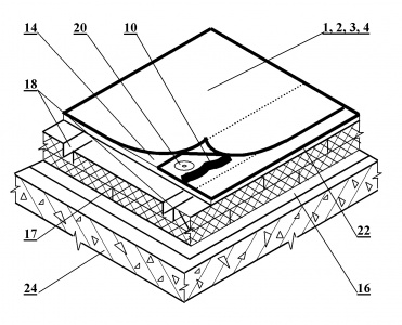
Кровля, прикрепляемая к основанию механическими крепежными изделиями

На рисунке 2 показан один из многих вариантов кровли, прикрепляемой к основанию механическими крепежными изделиями, используемой в новом строительстве.
Покрытие 1, 2, 3, 4 из ЭПДМ-мембраны "Элона-Супер", "Элона-Супер Н", "Элон-Супер-Л" или ПВХ-мембраны "Кровлелон" механически прикреплена к основанию в нахлестках с помощью расчетного количества крепежных изделий.
Нахлестки полотнищ ЭПДМ-мембран "Элона-Супер", "Элон-Супер-Л" склеены мастикой «Унимаст У» или с помощью липкой ленты «ДЛЛ-Элон» 10. Нахлестки полотнищ «Элона-Супер Н» соединены с помощью газовой горелки. Нахлестки полотнищ «Кровлелона» сварены автоматическим тепловоздушным феном.
Между сборной стяжкой 22 и мембраной проложена прокладка 14 из нетканой полиэфирной основы (геотекстиля развесом 300 г/м2).
Во избежание образования вздутий и повреждений нахлесток полотнищ мембран в процессе эксплуатации в толще утеплителя 17 предусмотрены вентилируемые каналы 18 с установленными над ними аэраторами (не показано).
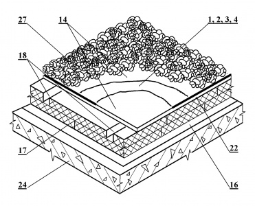
Кровля, укладываемая свободно с пригрузочным слоем

На рисунке 3 показан типичный вариант кровли, укладываемой свободно с пригрузочным слоем, используемой в новом строительстве.
В данном примере кровля 1, 2, 3, 4 из ЭПДМ-мембран "Элона-Супер", "Элона-Супер Н", "Элон-Супер-Л" или ПВХ-мембраны "Кровлелон" не крепится к основанию, что обеспечивает ей возможность деформироваться без внутренних напряжений. Пригрузочный слой 27 - гравий фракции 20 – 40 мм исключает влияние ультрафиолетового излучения. Сверху и снизу полимерной кровли проложены предохранительные разделительные слои 14 из геотекстиля.
Эксплуатируемая кровля

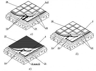
На рисунке 4 показаны три варианта конструкции а), б), в) эксплуатируемых кровель, используемых в новом строительстве или ремонте. Вариант в) относится к эксплуатируемой кровле, служащей автостоянокой, над гаражами, расположенными в стилобатной части здания.

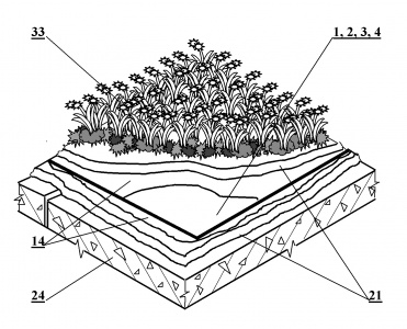
На рисунке 5 изображен участок эксплуатируемой кровли с газоном.
Инверсионная кровля

На рисунке показана схема инверсионной кровли, используемая в новом строительстве.
Над цементно-песчаной стяжкой 21 собран свободно лежащий водоизоляционный ковер 1, 2, 3, 4 из ЭПДМ-мембраны "Элона-Супер", "Элона-Супер Н", "Элон-Супер Л" или ПВХ-мембраны "Кровлелон". Сверху мембраны положен защитный слой 14 из геотекстиля. Выше – теплоизоляция 17, и, еще выше – гравий 27.
Ремонт кровли без съёма старого битумного ковра

На рисунке 7 показана схема ремонта кровли без съема старого кровельного ковра.
Схема ремонта предусматривает дополнительное утепление кровли и выполнение системы вентилируемых каналов и аэраторов, рассчитанных по методике, приведенной в руководстве МДС 12-54. 2010 в приложении 11.4.
Ремонт кровель из металла и шифера

Герметичность пропускающих воду стоячих и лежачих фальцев, соединяющих картины металлической кровли, восстанавливают нанесением кистью 3–4 слоев мастик «Унимаст ЦВ», «Унимаст У», согласно схеме, показанной на рисунке 8. При этом не требуется раскрытие фальцев.

Для повышения надежности герметизации на фальцы накладывают полосы шириной 100–150 мм, вырезанные из стеклоткани с последующим нанесением на них защитного покрытия из 3 слоев мастики «Унимаст У». Подобным образом также можно герметизировать трещины в шиферных листах.
Условные обозначения к рисункам 1—8 | |||
| 1 | «Элон-Супер» | 18 | Вентиляционный канал |
| 2 | «Элон-Супер-Л» | 19 | Аэратор |
| 3 | «Элон-Супер-Н» | 20 | Крепежный элемент |
| 4 | «Кровлелон» тип А | 21 | Цементно-песчаная стяжка |
| 5 | «Кровлелон» тип Б | 22 | Цементно-стружечная плита (ЦСП) |
| 6 | Мастика «Унимаст ЦВ» | 23 | Профлист |
| 7 | Мастика «Унимаст У» | 24 | Железобетонная плита |
| 8 | Мастика «Унимаст П» | 25 | Существующая кровля |
| 9 | Мастика «Унимаст Б» | 26 | Существующие конструкционные слои покрытия |
| 10 | Лента «ДЛЛ Элон» | 27 | Гравий |
| 11 | «Техноэласт» | 28 | Тротуарная плитка |
| 12 | «Элабит» | 29 | Асфальт |
| 13 | Сварное соединение полотен «Кровлелон» | 30 | Битумный праймер |
| 14 | Геотекстиль | 31 | Полоса подкладочного битум-полимерного материала |
| 15 | Стеклоткань | 32 | Склейка полотен мастикой «Унимаст У» |
| 16 | Пароизоляция по расчету | 33 | Почва и растения |
| 17 | Утеплитель по расчету | ||


+996 777
+996 550
+996 500