Гидроизоляция и мягкая кровля в Бишкеке ОсОО "BRR СТРОЙ"
Полимерно-Кровельно-гидроизоляционные материалы в Бишкеке
Конструктивные решения по гидроизоляции частей здания
Устройство гидроизоляции подземных конструкций и фундамента
Полимерные материалы: ПВХ-мембрана "Кровлелон", ЭПДМ-мембраны "Элон-Супер", "Элон-Супер-Н", "Элон-Супер-Л", жидкая резина "Унимаст" (разных марок) с успехом могут заменять традиционные рулонные битумные и битумно-полимерные материалы типа «Гидростеклоизола», «Техноэласта», «Элабита» и др. или использоваться в комбинации с битумполимерными материалами (с покровной массой, содержащей спецполимер, например, «Техноэласт» или «Элабит») не только в кровлях, но и в гидроизоляции подземных конструкций и других элементов зданий, например, таких как полы, в том числе химически стойкие и др.

При этом ЭПДМ-мембрана «Элон-Супер» и ПВХ-мембрана «Кровлелон» отличаются более высокой эластичностью, а также корнестойки, обладают устойчивостью к микроорганизмам и агрессивным средам, так как битум, являясь органическим веществом, служит питательной средой для микроорганизмов и насекомых, живущих в грунте.
Выбор типа изоляции подземных конструкций (количество слоев, решения узлов сопряжений, материалы для защитных стенок, необходимость устройства дренажной системы) при новом строительстве в условиях грунтовых вод является сложной и весьма ответственной задачей, от правильного решения во многом зависит нормальная эксплуатация подвалов, жилых зданий, гаражей, тоннелей, резервуаров.
Поэтому работы по гидроизоляции целесообразно выполнять по специально разработанному проекту, предварительно согласованному с исполнителями работ, в котором должны быть учтены:
- Данные гидрогеологических изысканий по составу и характеру грунтов и грунтовых вод, в том числе по степени их агрессивного воздействия.
- Уровень залегания грунтовых вод и возможные колебания этого уровня в процессе эксплуатации, возможность образования верховодки.
- Расчетные величины осадок фундаментов, характер трещиностойкости сооружений.
- Конструктивные особенности подземных конструкций (материал стен, днища, полов, сопряжения с коммуникациями).
- Характер рельефа местности и возможность устройства дренажа (пластового, пристенного).
- Функциональное назначение используемых подземных помещений и их температурно–влажностный режим согласно СНиП 11-3-79* (Строительная теплотехника)
- Организация водоотвода атмосферных осадков с кровли.
- Возможные техногенные изменения уровня грунтовых вод. Наличие расположенных вблизи здания подземных коммуникаций, утечки из которых могут в процессе эксплуатации оказать влияние на обводнение грунтов (водопроводные или канализационные коллекторы, каналы и т.д. ).
Наиболее эффективно применять ПВХ-мембрану "Кровлелон", ЭПДМ-мембраны серии "Элон-Супер", мастику "Унимаст" армированную стеклотканью, с наружной стороны конструкций, когда они работают на активное (положительное) давление воды, что обеспечивает их прижатие к поверхности стен сооружений. Такая схема защиты осуществляется при новом строительстве.
Использование полимерных материалов возможно и при отрицательном (негативном) давлении, когда изоляция выполняется со стороны помещений. В этом случае гидростатическое давление должна воспринять подпорная кирпичная или бетонная стена, установленная изнутри здания вплотную к изоляции.
При наличии грунтовых вод гидроизоляционное покрытие из ПВХ-мембраны "Кровлелон", ЭПДМ-мембран линейки "Элон" должно быть выполнено в виде сплошного замкнутого покрытия, приклеенного, приплавленного или механически закрепленного по всей наружной поверхности стен и днища, особенно тщательно в местах стыковки и пропуска инженерных коммуникационных сетей.
Количество слоев материала в зависимости от величины гидростатического давления
| Назначение гидроизоляции | Материал | Количество слоев или толщина, мм |
| Защита от капиллярной влаги | Мастика «Унимаст» или | 0,5 мм |
| «Элон-Супер», «Элон-Супер-Н», «Элон-Супер-Л» | 1сл. | |
| При наличии гидростатического напора до 5 м | «Элон-Супер» | 2 сл. |
| «Элон-Супер-Н», «Элон-Супер- Л» | 1 сл | |
| «Кровлелон» и «Техноэласт» или «Элабит» | 1 сл.+ 1 сл. | |
| При наличии гидростатического напора до 10 м | Техноэласт совместно с «Элоном Супер-Н» или «Элон-Супер-Л» | 1 сл.+ 1 сл |
| «Кровлелон» и «Техноэласт» | 1 сл.+ 1 сл. |
Все поверхности железобетонных элементов, предназначаемые для нанесения гидроизоляции, должны соответствовать категории не ниже А4 по ГОСТ 13015.0-83.
Желательно, чтобы при разработке гидрозащиты выбор материалов для оклеечной изоляции рассматривался совместно с вопросами дренажа.
От механических повреждений в процессе производства работ изоляцию необходимо защищать:
Стены - путем устройства после приклейки (перед обратной засыпкой грунтом) прижимной стенкой из кирпича, листов асбестоцемента, бетонных блоков, профилированных полиэтиленовых листов (дренажных мембран) и др.
Днище - после устройства гидроизоляционных мембран ПВХ-мембраны "Кровлелон", ЭПДМ-мембран "Элон-Супер", "Элон-Супер-Н", "Элон-Супер-Л" или кровельная мастика "Унимаст" на горизонтальную поверхность, производится защита поверхности полотном из геотекстиля, а затем цементно-песчаной стяжкой.
Вместо стяжки можно использовать также, как и в стенах, листы из ЦСП, ацеита или профилированного полиэтилена. Использование этого материала позволяет не только защищать мембрану от механических воздействий, но и улучшает дренаж. Материалы для механической защиты изоляции приведены в таблице 12 МДС 12-54.2010.
Полы промышленных зданий, в том числе с агрессивными средами
Гидроизоляция является обязательным конструктивным элементом полов в промышленных и гражданских зданиях при наличии мокрой уборки помещений.
Материалы, из которых выполнены несущие конструкции, как правило, не герметичны (бетон, керамзитобетон, профилированный настил, и т.д.). Не является гидроизоляцией большинство материалов, используемых в покрытиях полов. В зданиях из сборных ж.б. конструкций, например плиты перекрытий, имеют многочисленные швы.
Вода или технологические растворы при отсутствии гидрозащиты проникают к нижележащим конструкциям. При этом может развиваться коррозия арматуры, разрушаются отделочные покрытия, нарушается температурно–влажностный режим.
Что касается жилых зданий, то в санузлах, открытых балконах в помещениях душевых гидроизоляция должна быть обязательным элементом пола. При этом желательно, чтобы изоляция была оклеечной из ПВХ-мембраны "Кровлелон", ЭПДМ-мембран "Элон-Супер", "Элон-Супер-Н", "Элон-Супер-Л" или обмазочной из мастики "Унимаст" (определенной марки).
Гидроизоляция полов необходима как на перекрытиях, так и на грунтовом основании. Это особенно важно учитывать, если покрытие полов выполняется из монолитных полимерных материалов («наливные полы»), не обладающих паропроницаемостью.
При этом гидроизоляция должна выполняться (вне зависимости от наличия грунтовых вод) до устройства бетонного пола (по которому укладываются полимерные полы).
Назначение такой гидроизоляции - исключить капиллярный подсос влаги из грунтов.
В условиях действия воды, материалом обеспечивающим непроницаемость, может служить любой из наших полимерных материалов, как ПВХ или ЭПДМ мембраны или жидкая резина – одного слоя которого вполне достаточно при мокрой уборки помещений.
Преимуществом рассматриваемых полимерных материалов является возможность их использования без применения открытого огня и при отрицательных температурах.
Особую роль изоляция играет в защите строительных конструкций при воздействии на полы агрессивных жидкостей: кислот, щелочей, растворов солей, растворителей, масел, нефтепродуктов.
В практике антикоррозионной защиты, при действии агрессивных сред, этот элемент пола иногда называют не гидроизоляцией, а непроницаемым химически стойким подслоем.
При действии агрессивных сред, в особенности кислот, органических солей, битумно–полимерные материалы не обладают химической стойкостью.
В таких условиях ПВХ-мембрана "Кровлелон", ЭПДМ-мембраны "Элон-Супер", "Элон-Супер-Н", "Элон-Супер-Л", мастика "Унимаст" (разных марок) являются одними из немногих гидроизоляционных материалов, способных выдержать такие воздействия.
Так например, ЭПДМ-мембраны линии "Элон-Супер", основой которых является этиленпропиленовый каучук, по своим свойствам близок к химически стойким резинам, которыми защищают железнодорожные цистерны с соляной кислотой.
В отечественной практике вплоть до настоящего времени основным химически стойким материалом в полах используется полиизобутилен типа «ПСГ» толщиной 2,5 мм. Такая толщина с эксплуатационной точки зрения оправдывает себя весьма редко, в основном при защите наливного оборудования с концентрированными кислотами. Однако более тонких полиизобутиленовых листов «ПСГ» наша промышленность пока не изготавливает.
Представленные материалы не уступают полиизобутилену по химстойкости, но значительно технологичнее, тоньше и дешевле, причем «Кровлелон» обладает кроме прочего еще и стойкостью к растворителям.
Химическая стойкость "Элон-Супер", "Элон-Супер Н", "Элон-Супер Л" и "Кровлелон"
| Материал | Кислоты (серная, соляная, уксусная, азотная) концентрация, % | Щелочи концентрация, % | Растворители (ацетон, уайт-спирит, спирты, нефтепродукты) | ||||
| До 5 | До 10 | более 10 | До 5 | До 10 | более10 | ||
| «Элон-Супер», «Элон-Супер-Н», «Элон-Супер-Л» | + | + | + - | + | + | + | - |
| «Кровлелон» | + | + | + - | + | + - | + - | + |
| Условные обозначения : (+) стоек, (+-) относительно стоек (в зависимости от температуры и концентрации), (-) не стоек. | |||||||
Гидроизоляция наливных сооружений. Химически стойкие экраны
Важной проблемой охраны окружающей среды является обеспечение герметичности подземных наливных сооружений с агрессивными и токсичными средами.
Проектирование защиты таких сооружений желательно выполнять с привлечением специализированных организаций.
Рассматриваемые материалы могут использоваться для защиты металлических и железобетонных резервуаров, коллекторов, каналов, технологического оборудования.
Благодаря высоким диэлектрическим свойствам ЭПДМ-мембраны «Элон-Супер», «Элон-Супер-Н», «Элон-Супер-Л» и ПВХ-мембрана «Кровлелон» являются отличным защитным покрытием от действия блуждающих токов и почвенной коррозии. Они могут с успехом использоваться для наружной защиты стальных резервуаров и трубопроводов.
При защите наливных резервуаров в зависимости от характера среды и механических воздействий полимерные материалы могут быть применены в качестве непроницаемого подслоя с последующей футеровкой или самостоятельно как бы в виде «вкладыша».
Химически стойкие экраны используются для изоляции грунтов и грунтовых вод от инфильтрации жидких сред, образующихся под свалками, шламовыми накопителями, хранилищами промышленных отходов.
Под действием атмосферных осадков происходит растворение твердых частиц, которые при попадании в нижележащие слои могут проникать в грунтовые воды и затем в водоемы или даже в зону водозаборов питьевой воды.
Для экологической защиты подобных сооружений используются изоляционные экраны из ПВХ-мембраны «Кровлелон» со сваркой нахлесточных швов.
Защитные ограждения полимерной гидроизоляции от механических повреждений
Полимерные материалы требуют обязательной защиты от механических повреждений, для устройства которой должны применяться прочные и долговечные материалы, стойкие к механическому повреждению и химическому воздействию грунтовых вод и микроорганизмов. Требования к основаниям под гидроизоляцию и сведения по материалам механической защиты полимерной гидроизоляции приведены в МДС 12-54.2010.
Гидроизоляция фундамента

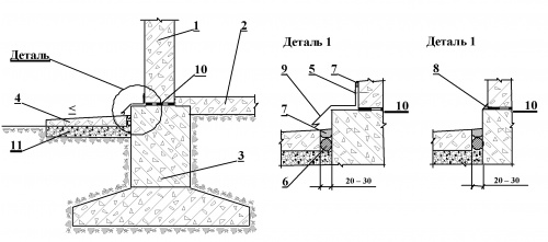
Рис. 1. Устройство гидроизоляции фундамента без подвала

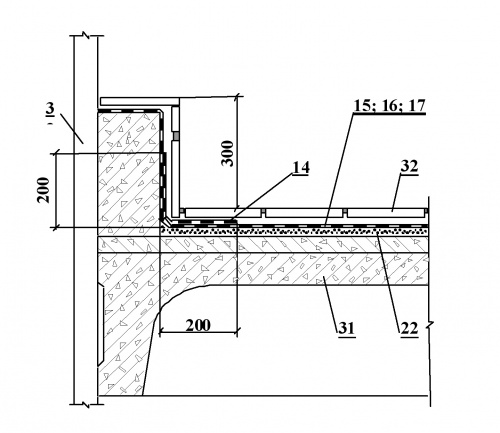
Рис. 2. Горизонтальная и вертикальная гидроизоляция фундаментов и стен в помещениях с подвалом (вариант 1)

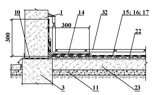
Рис. 3. Горизонтальная и вертикальная гидроизоляция фундаментов и стен в помещениях с подвалом и утеплителем (вариант 2)

Рис. 4. Горизонтальная и вертикальная гидроизоляция фундамента и стен подвала при наличии грунтовых вод
Примечание: Вариант 2 отличается от варианта 1 применением "Кровлелона" с "Техноэластом" или "Элабитом".

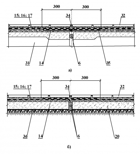
Рис. 5. Гидроизоляция в химически стойких полах на перекрытии

Рис. 6. Гидроизоляция в химически стойких полах на грунте

Рис. 7. Деформационные швы в химически стойких полах
а) на перекрытии; б) на грунтовом основании.
| Условные обозначения к рисункам 1 - 7 | |||
| 1 | Стена | 19 | Стена из бетонных блоков |
| 2 | Пол на грунте | 20 | Бетонный пол |
| 3 | Фундамент | 21 | Защитная цементно-песчаная стяжка 20 - 30 мм |
| 4 | Отмостка из асфальта или бетона | 22 | Выравнивающая цементно-песчаная стяжка |
| 5 | Саморез | 23 | Бетонная или железобетонная подготовка; |
| 6 | Жгут из «Вилатерма» | 24 | Теплоизоляция по расчету - "Пеноплекс" экструдированный |
| 7 | Герметик | 25 | Защитная стенка из красного кирпича |
| 8 | Стяжка по уклону из морозостойкого раствора | 26 | Монолитная стена подвала (железобетон) |
| 9 | Козырек из кровельной оцинкованной стали | 27 | Бетонное днище подвала |
| 10 | Горизонтальная однослойная гидроизоляция из ПВХ-мембраны «Кровлелон»; ЭПДМ-мембран «Элона-Супер»; «Элон-Супер Н», «Элон-Супер Л» | 28 | "Техноэласт" |
| 11 | Уплотненный щебень с песком | 29 | "Элабит" |
| 12 | Резиновая гидрошпонка | 30 | Краевая герметизация - "Раберфлекс" и др. |
| 13 | «Геотекстиль» | 31 | Плита перекрытия |
| 14 | Дополнительный слой гидроизоляции | 32 | Химически стойкое покрытие пола |
| 15 | «Кровлелон» | 33 | Ограждение |
| 16 | «Элон-Супер», «Элон-Супер-Л» | 34 | Химически стойкая эластичная мастика |
| 17 | «Элон-Супер-Н» | 35 | Компенсатор из оцинкованной или нержавеющей стали |
| 18 | Защитная стенка из цементностружечных плит | 36 | Уплотненный щебень с проливкой битумом |

+996 777
+996 550
+996 500